kenmore stove wiring diagram

Kenmore Electric Range 220V Power Loss Repair Guide - Burners & Oven. 18 Pics about Kenmore Electric Range 220V Power Loss Repair Guide - Burners & Oven : 10+ Electric Stove Burner Wiring Diagram - Wiring Diagram in 2020 (With, 3 Prong 220 Plug Wiring and also Kenmore 79046813992 Elite Dual Fuel Slide-In Range Timer - Stove Clocks.

Kenmore Electric Range 220V Power Loss Repair Guide - Burners & Oven

Kenmore Electric Range 220V Power Loss Repair Guide - Burners & Oven www.paulstravelpictures.com

kenmore electric range oven 220v repair guide burners connection power working 110v wires

Kenmore 79046813991 Elite Dual Fuel Slide-In Range Timer - Stove Clocks

Kenmore 79046813991 Elite Dual Fuel Slide-In Range Timer - Stove Clocks www.appliancetimers.com

kenmore parts range elite gas dual diagram fuel slide electric stove body genuine timer appliancetimers

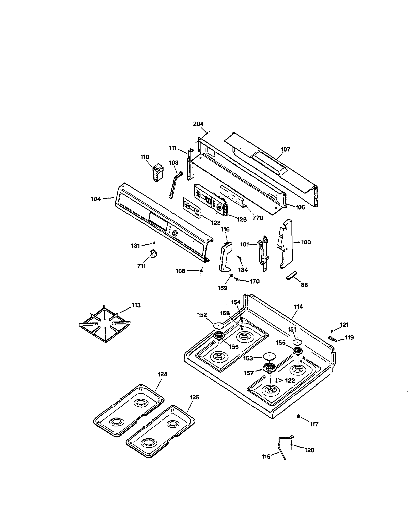
Kenmore Electric Built-In Oven Control Panel Section Parts | Model

Kenmore Electric Built-In Oven Control panel section Parts | Model parts.sears.com

parts kenmore oven electric built

Kenmore Model 79040299412 Wall Oven, Gas Genuine Parts

Kenmore model 79040299412 wall oven, gas genuine parts www.searspartsdirect.com

kenmore

30 Kenmore Oven Parts Diagram - Wiring Diagram List

30 Kenmore Oven Parts Diagram - Wiring Diagram List skippingtheinbetween.blogspot.com

kenmore backguard warmer rail searspartsdirect

The Broiler On My Kenmore Electric Range Will Not Shut Off Without

The broiler on my kenmore electric range will not shut off without www.justanswer.com

kenmore broiler shut range electric breaker oven

KENMORE ELECTRIC OVEN Parts | Model 79040439802 | Sears PartsDirect

KENMORE ELECTRIC OVEN Parts | Model 79040439802 | Sears PartsDirect www.searspartsdirect.com

kenmore oven electric parts wiring diagram built

30 Kenmore 70 Series Washer Parts Diagram - Wiring Database 2020

30 Kenmore 70 Series Washer Parts Diagram - Wiring Database 2020 rachelleogyaz.blogspot.com

kenmore searspartsdirect

Wiring Diagram Kenmore Oven - Diagram Wiring Outlet

Wiring Diagram Kenmore Oven - diagram wiring outlet diagramwiringoutlett.blogspot.com

I Have A Kenmore Range And The Oven Take A Time To Heat Up. In Fact We

I have a Kenmore range and the oven take a time to heat up. In fact we www.justanswer.com

kenmore oven range element diagram parts heat body electric below take

Wolf Range Wiring Diagram - Wiring Diagram Schemas

Wolf Range Wiring Diagram - Wiring Diagram Schemas wiringschemas.blogspot.com

Honda Odyssey Wiring Diagram

Honda Odyssey Wiring Diagram www.tankbig.com

crv civic sensor u2022 schaltplan stickerdeals o2 sentra autometer shift passport prelude freelander elektroschaltplan 300zx ecm kicker

28 Kenmore Gas Stove Parts Diagram - Free Wiring Diagram Source

28 Kenmore Gas Stove Parts Diagram - Free Wiring Diagram Source mickygurlz.blogspot.com

kenmore parts gas diagram stove range cooktop panel control

3 Prong 220 Plug Wiring

3 Prong 220 Plug Wiring www.chanish.org

kenmore mma

10+ Electric Stove Burner Wiring Diagram - Wiring Diagram In 2020 (With

10+ Electric Stove Burner Wiring Diagram - Wiring Diagram in 2020 (With www.pinterest.com

diagram

Electric Work: Range

Electric Work: Range myelectricwork.blogspot.com

electric range installation stove wiring kitchen appliance

Kenmore Electric Range Model 970 Parts Manual | Reviewmotors.co

Kenmore Electric Range Model 970 Parts Manual | Reviewmotors.co reviewmotors.co

kenmore searspartsdirect coleman

Kenmore 79046813992 Elite Dual Fuel Slide-In Range Timer - Stove Clocks

Kenmore 79046813992 Elite Dual Fuel Slide-In Range Timer - Stove Clocks www.appliancetimers.com

kenmore dishwasher oven maytag mpv bravos p150x untpikapps appliancetimers

Kenmore electric oven parts. Electric work: range. 3 prong 220 plug wiring