jlg 450aj wiring diagram

Txt Download. 15 Images about Txt Download : Jlg 40 Rts Wiring Diagram - Wiring Diagram, JLG 450AJ Service Manual User Manual | Page 40 / 116 | Also for: 450A and also Wiring Diagram For Jlg Lift - Electrical Wiring Diagram Guide.

Txt Download

Txt Download powercablegrandsale.blogspot.com

jlg scissor 800aj gciron

Jlg Wiring Diagram Scissor Lift

Jlg Wiring Diagram Scissor Lift darandterry.blogspot.com

jlg manual parts scissor wiring lift diagram ansi upright diagrams wrg manualsdir manuals

Jlg 450aj Wiring Diagram - Search Best 4K Wallpapers

Jlg 450aj Wiring Diagram - Search Best 4K Wallpapers www.smarts4k.com

Figure 7-2. Harness Components Installation | JLG 660SJ Parts Manual

Figure 7-2. harness components installation | JLG 660SJ Parts Manual www.manualsdir.com

jlg 660sj manual parts

Jlg Boom Lift 600s Parts Manual | Reviewmotors.co

Jlg Boom Lift 600s Parts Manual | Reviewmotors.co reviewmotors.co

jlg 600s telescopic lifts nacelle 400s spécifications

Jlg 40 Rts Wiring Diagram - Wiring Diagram

Jlg 40 Rts Wiring Diagram - Wiring Diagram wiringdiagram.2bitboer.com

jlg t350

Lull Alternator Wiring Diagram - Wiring Diagram

Lull Alternator Wiring Diagram - Wiring Diagram wiring121.blogspot.com

lull telehandler

Jlg 450aj Series 2 Wiring Diagram - Style Guru: Fashion, Glitz, Glamour

Jlg 450aj Series 2 Wiring Diagram - Style Guru: Fashion, Glitz, Glamour www.stylesgurus.com

jlg 450aj e450

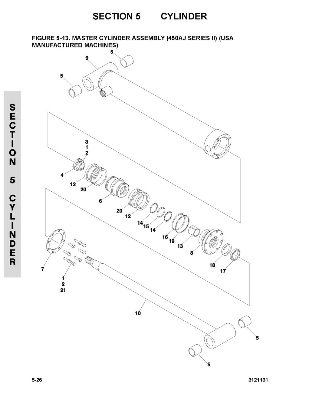
JLG 450AJ Service Manual User Manual | Page 40 / 116 | Also For: 450A

JLG 450AJ Service Manual User Manual | Page 40 / 116 | Also for: 450A www.manualsdir.com

450aj jlg

29 Jlg Scissor Lift Wiring Diagram - Wiring Diagram List

29 Jlg Scissor Lift Wiring Diagram - Wiring Diagram List skippingtheinbetween.blogspot.com

jlg scissor gciron

Wiring Diagram For Jlg Scissor Lift 1532 - Wiring Diagram Schemas

Wiring Diagram For Jlg Scissor Lift 1532 - Wiring Diagram Schemas wiringschemas.blogspot.com

scissor jlg

29 Jlg Scissor Lift Wiring Diagram - Wiring Diagram List

29 Jlg Scissor Lift Wiring Diagram - Wiring Diagram List skippingtheinbetween.blogspot.com

jlg lss scissors

Construction Equipment Parts: JLG Parts From Www.GCIron.com

Construction Equipment Parts: JLG Parts from www.GCIron.com www.gcironparts.com

qty req

Jlg Boom Lift 600s Parts Manual | Reviewmotors.co

Jlg Boom Lift 600s Parts Manual | Reviewmotors.co reviewmotors.co

jlg 600s 600sj 660sj

Wiring Diagram For Jlg Lift - Electrical Wiring Diagram Guide

Wiring Diagram For Jlg Lift - Electrical Wiring Diagram Guide wheretobuysomalaw.blogspot.com

jlg

Jlg 450aj service manual user manual. Scissor jlg. Jlg scissor gciron